截至5月14日,东方雨虹市值一直保持着1300亿左右的稳定成绩。
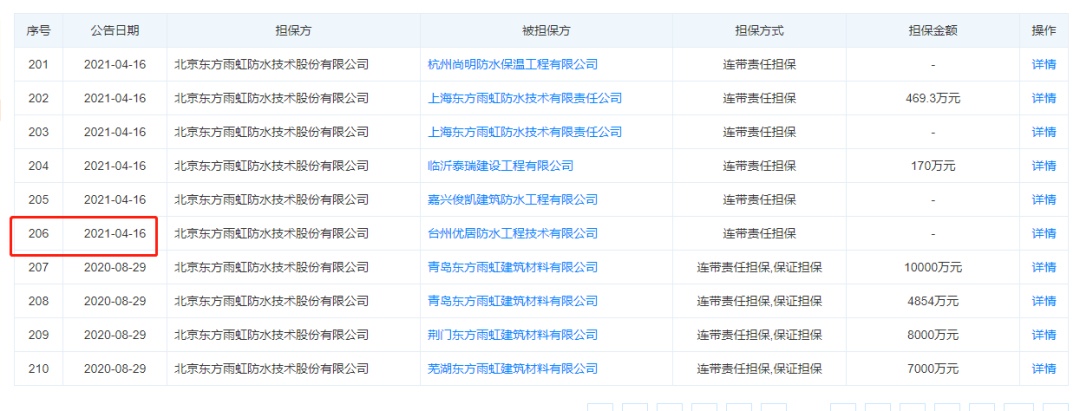
5月12日,东方雨虹发布一篇《北京东方雨虹防水技术股份有限公司关于为下属公司提供担保的进展公告》。深挖下去,这只是冰山一角。据天眼查显示,单单2021年,截至4月16日,东方雨虹已经为206家公司提供担保,其中为136家提供担保金额,占比66%;担保金额88.4万元至4亿元不等。

据公告显示,本次担保实际发生后,公司对青岛东方雨虹的担保金额为7500万元,剩余可用担保额度为7.25亿元。
东方雨虹表示,加上本次新增担保额度,公司及控股子公司对外担保金额约为18.77亿元,占公司2020年12月31日经审计净资产的比例为12.84%。其中,公司为全资子公司、控股子公司向银行申请融资提供的担保金额约为18.07亿元,占公司2020年12月31日经审计净资产的比例为12.36%;对下游经销商向银行申请融资提供的担保金额为7069.45万元,占公司2020年12月31日经审计净资产的比例为0.48%。
那么东方雨虹为何为子公司提供如此多且金额高的担保呢?其本质原因还是他大刀阔斧,搞投资建设有关。
5月10日,东方雨虹发布《关于在内蒙古通辽市科左后旗投资设立全资子公司及建设绿色新材料生产基地项目的对外投资公告》,拟设立通辽东方雨虹砂粉科技有限公司,注册资本5000万元。所辐射的却是拟投资20亿的东方雨虹通辽绿色新材料生产基地项目。出手之阔绰,显而易见。
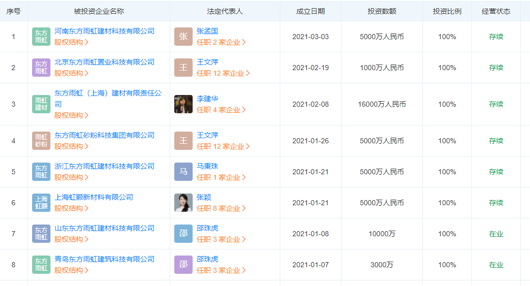
据天眼查显示:截至2021年3月3日,2021年东方雨虹旗下新成立的公司有8家,新设立的公司可以说是与东方雨虹的投建基地密切相关。若算上德爱威、华砂置业、卧牛山等旗下新成立的子公司,截至目前共有50多家。

从去年(2020年)6月30日-12月31日,东方雨虹共投资近180亿,且次次都是大手笔,投资金额在4.5亿元-30亿元不等。
步入2021年,东方雨虹的投资步伐并没有放缓。在截至今日。东方雨虹先后投资江西生产基地项目、山东区域总部及绿色建材生产基地项目、湖南邵阳新材料生产项目、河南郑州绿色建筑新材料生产基地、山西太原建筑新材料智能制造生产基地项目、河南省郑州市中原区投资建设郑州东方雨虹楼店研仓一体化基地项目及河南区域总部项目、江苏省宿迁市高 新区投资建设东方雨虹绿色建材生产基地项目、通辽绿色新材料生产基地项目8个基地项目,斥资近100亿。
图片
不禁让人疑问。巨额投资背后,东方雨虹钱从何来?他又负债多少呢?
据2020年度东方雨虹的审计报告显示:2020年度,东方雨虹公司防水材料销售收入172.47亿元,防水工程施工收入33.04亿元。合计约205亿的营业收入和180亿的投资放在一起看,有舍有得。
再来看东方雨虹《2020年合并及公司资产负债表》,合并资产总计约278.46亿元,比2019年的224.16亿元增长24.22%;流动负债合计约121.32亿元,比去年100.86亿元增加20.29%;非流动负债合计8.83亿元,比去年23.70亿元减少62.74%;负债合计130.15亿元,比去年124.56亿元增加4.49%。

综上所述,东方雨虹的“三高”就很明显——高市值、高投资、高负债。这“三高”似乎共同成就了东方雨虹防水行业老大的至高地位。市值高只能代表市场与股市的预判,资产与负债表更能真实透明的展现他的实力。
只是企业的金融与管理是一门高深莫测的学问,这里不便多揣测。但是东方雨虹在高度发展的同时,居安思危,除了实现8000亿市值目标外,奠定百年基业,想必也是东方雨虹关注的事吧。





