我们从未想过石家庄油漆厂会以这样的形式“活跃”在涂料行业中——被曝拖欠工资、大量员工离职、涉及民间借贷纠纷。
8月13日,有消息疯传:石家庄油漆厂因经营问题,资金周转困难,出现大量工作人员离职——“在晨阳出现经营问题之后,很多人陆续进入石家庄油漆厂,本以为可以成就一番事业,然而,事与愿违,最后搞得一地鸡毛。”

石家庄油漆厂总部大楼
上述情况真伪尚未得到验证,但是我们从河北新闻网却找到些蛛丝马迹——8月6日有网友通过“我为群众办实事”河北新闻网民声直通车反映“河北石家庄油漆厂拖欠工资”的问题。
据悉,该网友曾在河北石家庄市油漆厂就职,2021年6月离职,该公司拖欠工资(1-5月,共1.873074万元)一直不发。随后,河北石家庄市赵县劳动监察大队就相关问题进行了调查核实。目前工资已到账。

除此之外,网友覃元平通过平台进行了控诉:“石家庄油漆厂欠我们员工费用,工资和提成,都不给发,对员工都那样的公司,从何谈市场,欠员工费都快一年,现在还不给,把所有的问题都推到别人身上,石家庄油漆有没一点责任和担当。”
8月13日,我们将上述情况行文并进行了发布,引起了业内人士的关注。随后我们向石家庄油漆厂进行了求证,但其仅进行了简单回应——网上传闻不实。
资金有窟窿?
“(石家庄)油漆厂资金的问题也不是一天两天了,后面合作开发的地产项目断断续续有三四年了……而且这事儿还得看结果,一个国有企业先是过渡到集体企业,后面再由集体企业转成私营企业,这里面(水)深了……拭目以待……”网友“黑色裂变”直言不讳。

从天眼查所获取的资料也侧面印证了上述观点——石家庄油漆厂于去年4月20日、7月20日分别欠国家税务总局石家庄市税务局、国家税务总局石家庄市裕华区税务局增值税共1945.776292万元。
值得注意的是,我们从国家税务总局石家庄市税务局网站查询发现,石家庄油漆厂只有一项欠税,共972.888146万元,且这与欠石家庄市裕华区税务局增值税金额一样,从结果来看,该款项尚未补缴。

拖欠工资,拖欠增值税,可能只是石家庄油漆厂出现“经营困境”的端倪。实际上,石家庄油漆厂还涉法律诉讼56宗,涵盖买卖合同纠纷、建设工程施工合同纠纷等,更甚有借款合同纠纷与民间借贷纠纷(目前已达成和解,并未有全文公示),身为被告人的诉讼金额达到1.2亿元。

历史被执行人共17次,涉及金额共4601.3万元,最近一次发生于2021年7月29日
其法定代表人焦亚平更是因为(2018)冀01执恢87号、(2019)冀0104执2866号两起案件而被法院发布限制消费令。
石家庄油漆厂的背后资金窟窿并非近两年才出现,应且早显端倪:2015年向石家庄宝德中小企业担保服务有限公司抵押,共2000万人民币。

石家庄油漆厂与石家庄宝德融资租赁有限公司的民间借贷纠纷达成和解
此外,石家庄油漆厂共下设了13个分支机构,数据显示,目前已经注销三个,它们分别是石家庄市油漆厂粉末涂料分厂、石家庄市油漆厂聚氨酯漆分厂、石家庄市油漆厂衡经销部。
强烈的反差
“因为水性漆更环保,这几年不少油漆企业开始进军这片'蓝海'。而我们早在上世纪90年代就开始相关研发了。”
石家庄油漆厂技术总监凌芹言语中露出一丝自豪:通过先后引进荷兰和美国的先进水性漆制造技术,生产的几百个金鱼水性漆系列产品,不仅环保而且性能卓越,技术水平和品质保障能力国内领先。

7月1日,石家庄市油漆厂党政工团联合组织开展庆祝建党100周年主题活动
资料显示,石家庄油漆厂是集科工贸一体的国有大型化工集团,1956年建厂,是原化工部定点生产油漆产品的全国十三家化工企业之一。
历经近半个世纪的发展,石家庄油漆厂现在已是具有年产值2.5亿元、生产能力5万吨的现代企业,拥有金鱼、鱼友、海鱼三个知名品牌,各种检测设备先进,科研人员98%以上为大学本科以上学历,年轻富有朝气。
8
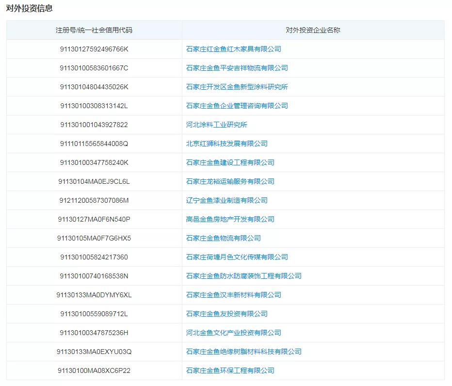
石家庄油漆厂对外投资信息,是以房地产开发、建筑施工、物流运输、制桶包装、环保、文化产业、红木家具家装等多元产业互为支撑、协同发展的大型企业集团
石家庄油漆厂还与兰州大学、河北工业大学等高等院校及科研机构联合攻关、不断研制开发新产品。采用新工艺,在激烈的市场竞争中立于不败之地。2016年,便实现了销售收入9.1亿元。
在2019年中国涂料行业企业排名中位于前20名,在2019年度中国石油和化工企业500强中位列第382位,在2020年度中国石油和化工企业500强独立生产经营企业名单中位列第196位,在2020年中国石油和化工基础化学原料制造业百强中位于第81名。

石家庄油漆厂上榜榜单信息
这无疑与上面“曝拖欠工资、大量员工离职、涉及民间借贷纠纷”的石家庄油漆厂形成了强烈的反差,甚至让人产生它们并不是同一家公司的错觉。
河北,在涂料行业看来,近年似乎有些“多事”。去年晨阳水漆被曝出债务危机,司法重整一事仍在进行中,牵动着投资人与债权人的心;如今石家庄油漆厂也同样出现经营不善的传闻。
不难发现,涂料行业发展规律已经发生深刻变化,不以规模取胜,也不以资历论英雄,而以技术、产品、服务、品牌等一系列综合水平作为全新考量。在行业寡头化加快的背景下,这些不确定因素的出现也印证了这种判断。
究竟金鱼漆将何去何从,我们将持续跟踪事情的发展。




