近日,《涂料经》获悉,丰田递交了一份令人瞩目的专利申请,该专利描述了一种革命性的可变色涂料技术,这项技术赋予了车主或经销商快速变换汽车颜色的能力。
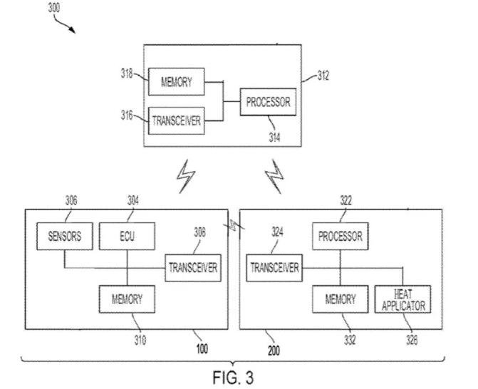
丰田声称,他们所研发的油漆能在热和光的刺激下实现颜色的转变,摒弃了传统繁琐的重新喷漆或乙烯基包装过程。在专利申请中,我们可以窥见这一神奇技术的运作场景:汽车缓缓驶入一个特设的车库隔间,这个隔间的四周布满了隧道状的加热元件。当油漆表面受热时,一个名为“颜色调制器”的发光设备将启动,像魔术般地在油漆表面完成颜色的转换。丰田建议,颜色调制器可由操作员或机器人精准控制,成为整个变色过程中的核心指挥官。通过先进的程序设计,它能与远程服务器以及嵌入车身的温度传感器保持通信,从而确保每次颜色转换都能达到预期的精确效果。值得注意的是,丰田并非变色涂料技术的先驱。早在2022年消费电#热点引擎计划#子展上,宝马就展示了其iX电动SUV的类似功能。宝马的技术基于电泳原理,通过电流驱动颜料在数百万微胶囊中循环,实现车身颜色的瞬间转变。

图片来源:Toyota
丰田的设计似乎有些不同,因为其并没有使用外部包裹作为介质。与宝马的设计相比,丰田的设计是否更有可能投入量产尚待观察。